Inzwischen haben sich bei mir 6 veschiedene selbstgebaute Brenner angesammelt:

Angefangen habe ich mit einem Parallelport-Brenner von Sprut,

dann kam ein Brenner 8p nach Sprut USB

ein Parallelport-Brenner für AVRs mit „Mosi“ und „Miso“--irgendwie merkt man sich immer sowas beklopptes....--

ein „ICD2-Clon“ Debugger nach Lothar Stolz /Harald Sattler in USB

und jetzt für PIC24 ein Brenner9 nach Sprut

und ein „ICD2-CLON“ frei nach dem Potyo-Design, der auch PIC24 brennt.

Meiner Meinung nach braucht man immer zwei Brenner für seine Pics, deshalb habe ich

gleich die zwei neuen gebaut für PIC24. Man will ja schließlich wissen, ob der Chip kaputt ist, oder der Brenner.

Als Reserve und wegen der guten Notfallhelfer-Eigenschaften von USBURN hab ich dann den Sprut 9 gebaut, da ich

den Chip sowieso noch als Reserve für den 8p hatte, der nie kaputtging. Eine zuverlässig funktionierende Schaltung ist ja

10mal schneller zusammengebaut, als wenn man selber irgendwas entwickelt. Mal eben was nachbauen ist eben einfach

eine niederschwellige Sache und war auch in zwei Tagen erledigt.

Andererseits wollte ich aber einen Brenner, der mit MPLAB-Software direkt zusammenarbeitet, da war ein ICD2-Clon besser.

Mein alter ICD2-Clon nach Stolz/-Sattler hat leider softwaremäßige Einschränkungen und war auch mit 3,3V-Peripherie-Umrüstung leider nicht auf Pic24 anwendbar.

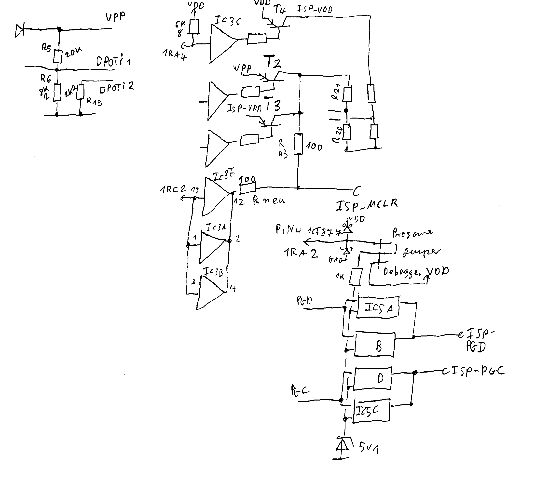
An dem Potyo Clon habe ich aber einiges verändert:

Zusammenfassung meiner Designänderungen

Arbeitsbericht an dem Potyo-Design

der zugrundegelegte Original-Schaltplan -Ich weise darauf hin, dass die Rechte an diesem Schaltplan nicht mir gehören, sondern der Gemeinschaft, die das entwickelt hat, oder diesem komischen Ungarn mit dem edaboard-Usernamen „Potyo“ und der Kyle Broflowski-Mütze. Microchip kann soweit ich weiss, nichts dagegen machen und will das auch nicht. Die wollen ja ihre Chips verkaufen. Das wird durch billige Eigenbau-Programmiergeräte eher gefördert, als umgekehrt. Man darf sie nur nicht als Original-MCP-Geräte verkaufen.

die durchgeführten Änderungen als Schaltplan -das ist auch noch nicht das Ende der „Fahnenstange“

Super Vpp-Steller für ICD2 – Clon -völlig überflüssig, nur zu Testzwecken eingebaut und dringelassen.